CHAPTER 5
EXPLOSIVE ORDNANCE DISPOSAL
SUPPORT STRUCTURE
OVERVIEW
EOD support is designed to detect, identify, render safe, recover, evacuate, and dispose of items of unexploded US and foreign ordnance. This chapter defines an EOD incident, explains how response priorities are established, and introduces the EOD support structure. For more on EOD force structure, see FM 9-15.
EOD ROLE
The mission of EOD is to support the national security strategy during peacetime, wartime, and SASO by reducing or eliminating the hazards of explosive ordnance that threaten personnel, operations, installations, or materiel.
In all operations, EOD participates in security and advisory assistance, anti-terrorism, counterdrug operations, training, ordnance disposal, arms control, treaty verification, and support to domestic civil authorities. Many of these tasks are routinely performed in CONUS and include the following:
- Providing EOD support to the United States Secret Service (USSS) and other federal agencies for presidential and VIP protection.
- Advising and assisting the civil authorities in the removal of military ordnance that threatens public safety. See AR 75-15 for authorization information.
- Examining, identifying, and report-ing new and unusual explosive ordnance for technical intelligence purposes.
- Supporting nuclear and chemical weapons shipments.
- Conducting range clearances. EOD supports range clearance operations by disposing of UXO on impact areas.
- Destroying ammunition (see FM 9-15).
- Neutralizing of government-owned ordnance shipments (see FM 9-15).
- Responding to improvised explosive devices (IEDs).
- Advising on mines and minefield clearance. Mines and minefields are not specifically an EOD matter. EOD personnel give technical advice and assistance when asked and when priorities allow. Large-scale minefield breaching is an engineer function.
- Supporting the cleanup of UXO from formerly used defense sites and active installations.
- Providing instruction to host or allied nation military or civilian EOD person-nel on UXO hazards and disposal techniques.
During war, preserving the com-mander's combat power becomes more challenging for EOD because of the increasingly complex and lethal battlefield. EOD integration into staff planning must be sufficiently explicit to provide for battle synchronization, yet flexible enough to respond to change or to capitalize on fleeting opportunities. EOD command and control itself must respond quickly and adapt to the rapid changes on the battlefield.
UXO, including improved conventional munitions (ICMs), is emphasized now more than ever before because of its potential negative impact on the commander's combat power. ICMs (because of their sheer numbers, various means of functioning, and enhanced lethality) have significantly impacted EOD efforts to preserve the commander's combat power and provide a safe operational environment for all friendly forces on the ground. EOD missions include:
- Detecting UXO hazards.
- Identifying unexploded US and foreign ordnance.
- Rendering safe UXO.
- Recovering UXO for technical intelligence exploitation.
- Disposing of UXO.
- Advising commanders on UXO hazards and protective measures.
EOD provides the force projection Army with rapidly deployable support for the elimination of UXO from any operational environment. EOD serves as a combat force multiplier by neutralizing UXO that is restricting freedom of movement and denying access to supplies, facilities, and other critical assets. For detailed information on EOD support, see FM 9-15.
EOD INCIDENTS
An EOD incident occurs when a unit detects or suspects the presence of UXO or damaged ordnance that presents a hazard to operations, installations, personnel, or materiel. Anyone can detect and report an EOD incident through command or operations channels.
the operations officer at either the corps tactical operations center (CTOC) or TAACOM operations center prioritizes EOD incidents according to the priorities established by the corps or ARFOR. (For example, a Priority 1 asset may be an ASP and a Priority 2 asset, a POL point.) Once incidents have been prioritized, they are referred to the EOD staff officer.
Upon receiving the incident list, the EOD staff officer assigns each incident a category designation. The EOD categories are as follows:
Category A. Incidents that constitute a grave and immediate threat: "war-stoppers." These incidents are first in priority for EOD support.
Category B. Incidents constituting an indirect threat.
Category C. Incidents constituting little threat.
Category D. Incidents constituting no threat at the present time.
The priority and EOD category assigned each incident together determine the order in which the incidents will be handled.
The EOD staff officer forwards the incident workload list to the supporting EOD battalion. The EOD battalion, in turn, assigns the incidents to its subordinate companies for elimination of the suspected UXO hazards.
CONTROL PROCEDURES
The limited EOD assets available to the commander are force multipliers that far exceed their actual numbers. For that reason, EOD operations must be controlled in a manner that has the greatest impact on supporting the commander's mission. centralized control and decentralized control are the two methods of controlling the operations of EOD units.
Centralized Control
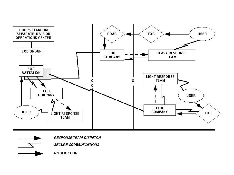
Centralized EOD control relies on good communications and a complete and accurate evaluation of the threat to the war effort. Once the EOD battalion receives the request for EOD support (relayed through the TAACOM or corps command post from the requesting unit's operations channels), the EOD battalion assigns the incident to an EOD company. The EOD company then dispatches an EOD response team to handle the incident. Figure 5-1 illustrates centralized EOD incident reporting.
Decentralized Control
Decentralized EOD control is used most often in peacetime operations. A unit needing EOD support requests that support directly through operational channels. The EOD company receives the request, notifies the EOD battalion, and dispatches a response team. Decentralized control works well in peacetime or when there is no requirement for a massive response by a large number of EOD assets to a major incident (e.g., a large-scale attack with denial-type munitions on a key facility).
The decentralized method depends less on total area communications than does the centralized method. With good communi-cations, the centralized method is more flexible and responsive to changing situa-tions. If communications support is not reliable, and massing EOD assets is not required, the decentralized method is best since it is less vulnerable to communications failure. With the decentralized method, each subarea can operate independently while the EOD battalion monitors the reported incidents. Figure 5-2 illustrates decentralized EOD incident reporting.
TRANSITION
TO WAR
Assigned EOD assets must be incorpo-rated into the war plans of separate divisions, corps, and TAACOMs. This includes coordination with rear area operations center (RAOC) and HN EOD units. Also, planning must include coordination between peace-time CONUS EOD units and their wartime OCONUS higher headquarters.
SUPPORT STRUCTURE
AND OPERATIONS
EOD support is provided geographically to units both in and passing through the area. Also, support may be provided for maneu-vers by assigning or attaching EOD units to maneuver forces.
User Level
Support
Any unit can report an EOD incident through operational or command channels to a central operations center. The center can be a division tactical operations center (DTOC), CTOC, or the TAACOM operations center. The center's operations officer, with assistance of the EOD staff officer, sets the priority of EOD incidents based on the threat posed by the incident. Incidents are coordinated, based on the operational mode used, through the EOD battalion or company for the assignment of an EOD response team. Lastly, the EOD response team is dispatched to the scene.
EOD Response
Team
Basic EOD support is normally provided by a two- (light) or three-person (heavy) response team organic to an EOD company. The team may function independently of the parent company for up to 72 hours before returning to the company. Also, several light teams can be grouped to work on large multi-UXO incidents or other high priority incidents. If required, a response team may be attached temporarily to a unit other than its parent company for rations, quarters, and logistical support. However, command and control remain with the parent company.
A responding EOD team may need added support (e.g., engineers, medical) to reduce potential and/or actual hazards. The responding EOD team will advise if added support is needed and what type is required.
EOD Company
The EOD company provides command and control for its organic EOD response teams. The mission of EOD companies is to provide EOD support to corps and TAACOM units. In the TAACOM, they provide DS to the ASG by covering the ASG area of operations and all units within it. Any EOD companies not DS to the ASG will be in GS to the TAACOM.
In the corps, EOD companies are positioned throughout the CSG AO and are normally collocated and attached to the CSBs. Command and control remain with the parent EOD battalion. EOD companies provide GS to the corps on an area basis and can be placed in DS of a specific maneuver unit, normally a division or task force equivalent element.
Because of limited personnel and equip-ment assigned to an EOD company, the company depends on the unit to which it is attached or supporting for rations and administrative and logistical support. EOD companies have a limited number of personnel available for base security and other details.
EOD Company
(CONUS-Based)
The CONUS-based EOD company provides command and control for its organic EOD response teams. Its mission is to reduce or eliminate the hazards of munitions and explosive devices throughout the continental United States.
This company provides EOD service on an area basis for a maximum routine incident response capability of 120 incidents per day (based on 12 teams). Also, it may respond to civilian requests for EOD support and assist public safety and law enforcement agencies in handling IED and terrorist threats. The CONUS-based EOD company may provide support to other federal intelligence agencies as outlined in DOD directives and support installations by clearing ranges and destroying unserviceable ammunition.

Figure 5-1. Centralized EOD incident reporting

Figure 5-2. Decentralized EOD incident reporting
EOD Battalion
An EOD battalion provides command and control for three to ten EOD companies. A battalion with eight EOD companies is allocated to a TAACOM. A corps is allocated one EOD battalion with ten subordinate EOD companies.
The EOD battalion has a limited number of personnel and equipment. Therefore, it is dependent on the unit to which it is assigned or attached for rations and administrative and logistical support.
Ordnance Group (EOD)
The ordnance group (EOD) has two major functions: theater EOD planning and EOD command and control. This group is composed of two to six EOD battalions.
User Level
Support
Any unit can report an EOD incident through operational or command channels to a central operations center. This center can be a DTOC, CTOC, or the TAACOM operations center.
The center's operations officer, with the assistance of the EOD staff officer, sets the priority of EOD incidents. Priority is based on the threat posed by the incident.
Incidents are coordinated, based on the operational mode used, through the EOD battalion or company for the assignment of an EOD response team. Lastly, the EOD response team is dispatched to the scene.
EOD Staff
Officer
The ranking EOD officer serves as the EOD staff officer to the TACOM, TAACOM, corps, or division. This officer is normally dual-hatted as the respective EOD group, battalion, or company commander.
Responsibilities of the EOD staff officer include the following:
- recommends policy and distribution of EOD assets.
- Monitors incident reports, estab-lishes workload priorities, and serves as POC for technical intelligence coordination.
- Coordinates EOD support while ensuring that proper communications have been coordinated at each level supporting EOD operations.
The EOD staff officer and staff are located within the theater army command (TACOM), the TAACOM, the corps, and wherever a division is deployed as a separate unit. Also, an EOD staff element (joint service) will be located at the joint, unified, or combined command staff to assist in managing interservice EOD support.
If no ASCC staff headquarters exists in the theater of operations, an EOD officer and staff are included in the ARFOR element of a joint, unified, or combined command task force staff to manage Army EOD operations.
HOST NATION
INTERFACE
HN EOD assets generally have limited chemical or biological expertise and normally no capability for supporting nuclear weapons accidents or incidents. However, most HN forces do have an EOD identification capability. When US EOD support is not available, the area damage control cell of the RAOC interfaces with HN assets to use the appropriate HN EOD assets. If US EOD support is used, it must be properly coordinated and must comply with government, HN, state, and local requirements. If the HN does not have environmental laws and regulations, US statutes will apply. Emergency operations or EOD operations that take place during wartime will adhere to protocols as outlined in the Military Munitions Rule (MMR).
COMMUNICATIONS
EOD units need a wide range of com-munications to accomplish their mission. Long-range communications are required among the deployed teams, the companies, the EOD battalion, and the EOD group. EOD units are linked to the area communications network through mobile subscriber equipment (MSE). Also, EOD response teams and units require a data processing capability for electronic transmission of record traffic.
When operating at an incident site, EOD response teams need secure, short-range, wireless interteam communications for the coordination of team member activities and safety. The response teams dispatched on the battlefield require a position navigation device with digital data capability for precise location determination.
|
NEWSLETTER
|
| Join the GlobalSecurity.org mailing list |
|
|
|

